
INCH-POUND
MIL-PRF-55629/21G
10 March 2010
SUPERSEDING
MIL-PRF-55629/21F
21 September 2005
PERFORMANCE SPECIFICATION SHEET
CIRCUIT BREAKERS, MAGNETIC, PANEL SEAL,
TRIP-FREE, SERIES TRIP, DOUBLE POLE
(0.2 TO 30 AMPERES)
This specification is approved for use by all Departments
and Agencies of the Department of Defense.
The requirements for acquiring the product described herein
shall consist of this specification sheet and MIL-PRF-55629.
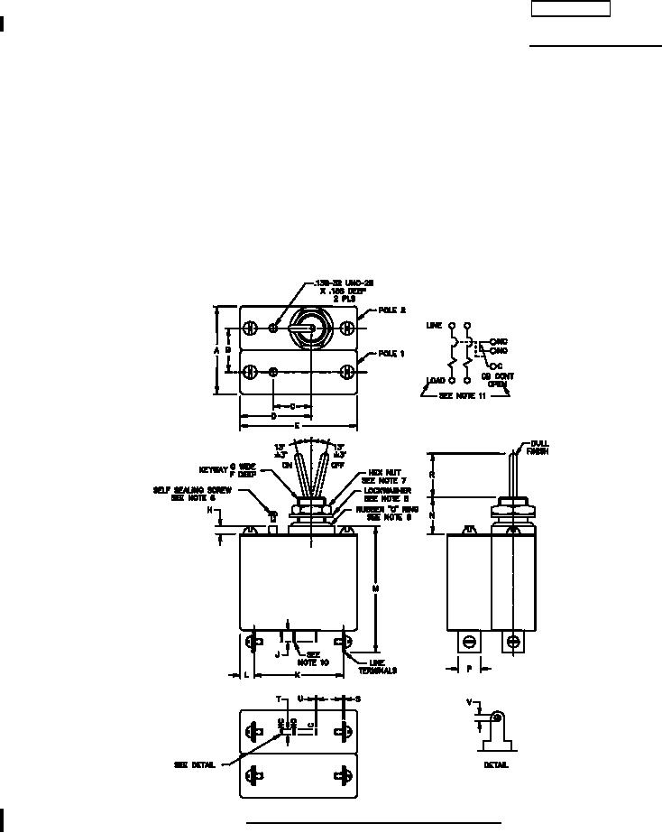
FIGURE 1. Dimensions and configurations (configuration1).
AMSC N/A
FSC 5925
For Parts Inquires submit RFQ to Parts Hangar, Inc.
© Copyright 2015 Integrated Publishing, Inc.
A Service Disabled Veteran Owned Small Business