
INCH-POUND
MIL-PRF-55629/20G
10 March 2010
SUPERSEDING
MIL-PRF-55629/20F
21 September 2005
PERFORMANCE SPECIFICATION SHEET
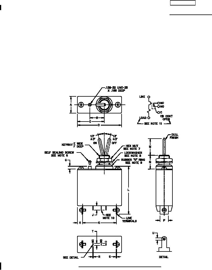
CIRCUIT BREAKERS, MAGNETIC, PANEL SEAL,
TRIP-FREE, SERIES TRIP, SINGLE POLE
(0.2 TO 30 AMPERES)
This specification is approved for use by all Departments
and Agencies of the Department of Defense.
The requirements for acquiring the product described herein
shall consist of this specification sheet and MIL-PRF-55629.
FIGURE 1. Dimensions and configurations (configuration 1).
AMSC N/A
FSC 5925