
INCH-POUND
MIL-PRF-55629/10E
10 March 2010
SUPERSEDING
MIL-PRF-55629/10D
12 July 2005
PERFORMANCE SPECIFICATION SHEET
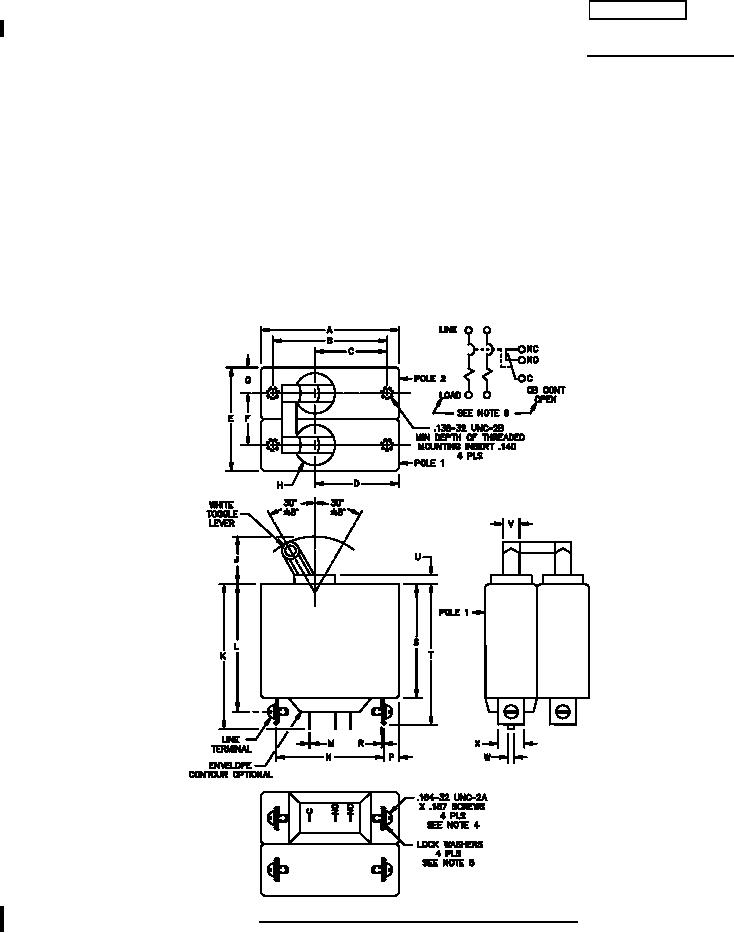
CIRCUIT BREAKERS, MAGNETIC, LOW-POWER, UNSEALED,
TRIP-FREE, SERIES TRIP, DOUBLE POLE, AUXILIARY CONTACTS
(0.2 TO 30 AMPERES)
This specification is approved for use by all Departments
and Agencies of the Department of Defense.
The requirements for acquiring the product described herein
shall consist of this specification sheet and MIL-PRF-55629.
FIGURE 1. Dimensions and configurations (configuration 1).
AMSC N/A
FSC 5925