
INCH-POUND
MIL-PRF-55629/1G
10 March 2010
SUPERSEDING
MIL-PRF-55629/1F
21 September 2005
PERFORMANCE SPECIFICATION SHEET
CIRCUIT BREAKERS, MAGNETIC, UNSEALED,
TRIP-FREE, SINGLE POLE
(0.2 TO 100 AMPERES)
This specification is approved for use by all Departments
and Agencies of the Department of Defense.
The requirements for acquiring the product described herein
shall consist of this specification sheet and MIL-PRF-55629.
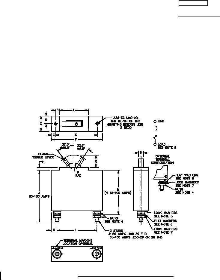
FIGURE 1. Dimensions and configurations (configuration 1).
AMSC N/A
FSC 5925
For Parts Inquires submit RFQ to Parts Hangar, Inc.
© Copyright 2015 Integrated Publishing, Inc.
A Service Disabled Veteran Owned Small Business