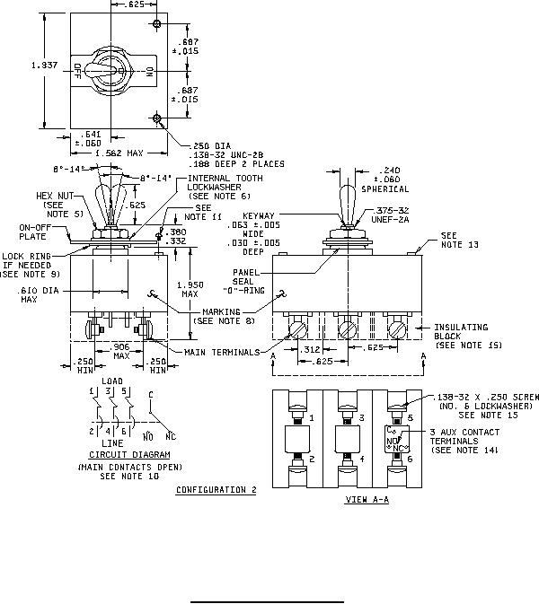
MIL-PRF-39019-6 Circuit Breakers, Magnetic, Low-Power, Sealed, Trip-Free Three-Pole, Auxiliary Contacts