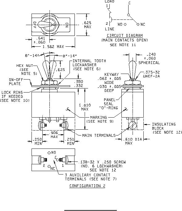
MIL-PRF-39019-2 Circuit Breakers, Magnetic, Low-Power, Sealed, Trip-Free One-Pole, Auxiliary Contacts