
MIL-DTL-23928G
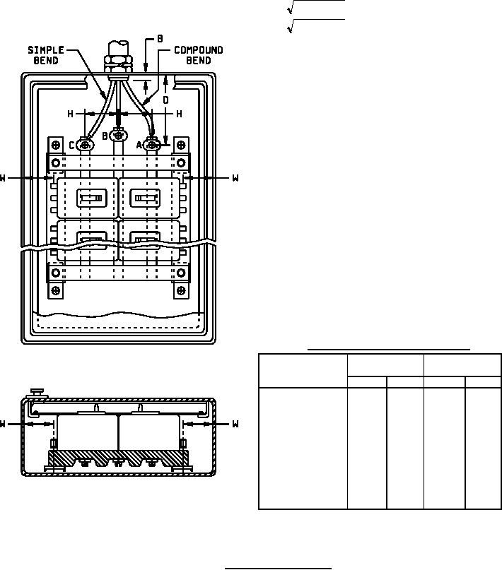
D = H (2R - H ) + B (Simple bend )
D = H (4R - H ) + B (Compound bend )
D = R + B when H > R
Legend
D = Minimum distance from enclosure wall, through
which feeder cable enters, to feeder cable lugs or
terminals on bus bars.
B = Allowance for feeder cable sheath protruding into
enclosure.
R = Radius of bend for individual conductors of feeder
cable (see table below).
H = Center to center spacing of bus bar lugs or
terminals.
W = Minimum bending width of side wiring space from
breaker terminals to wall of enclosure (see table
below).
Table of bending dimensions R and W.
R (min)
W (min)
Cable circular
mil size
Inches
mm
Inches
mm
2,583 - 26,250
---
---
1.5
38.1
30,860 - 52,630
2.0
50.8
2.0
50.8
60,090 - 66,370
2.5
63.5
2.5
63.5
75,780 - 84,230
3.0
76.2
3.0
76.2
99,060 - 133,100
3.5
88.9
3.5
88.9
157,600 - 211,600
4.0
101.6
4.0
101.6
250,000
4.5
114.3
---
---
300,000 - 350,000
5.0
127.0
---
---
400,000 - 500,000
6.0
152.4
---
---
FIGURE 1. Wiring space dimensions.
9
For Parts Inquires submit RFQ to Parts Hangar, Inc.
© Copyright 2015 Integrated Publishing, Inc.
A Service Disabled Veteran Owned Small Business