
MIL-DTL-23928/4E
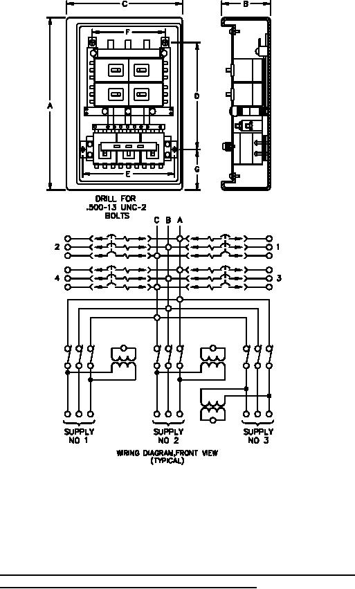
FIGURE 5. Distribution panel with double AQB-A101, AQB-A102, AQB-A103 circuit breakers with
3-way 100 amp NQB circuit breaker transfer switches (typical).
6
For Parts Inquires submit RFQ to Parts Hangar, Inc.
© Copyright 2015 Integrated Publishing, Inc.
A Service Disabled Veteran Owned Small Business