
MIL-DTL-23928/3C
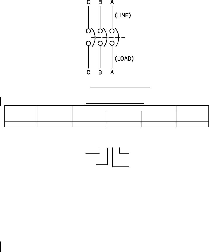
FIGURE 4. Wiring diagram front view (typical).
TABLE I. Part or identifying numbers (PIN).
Dash
Number of
Symbol number and enclosure type
Current
number
circuits
rating
Dripproof
Totally
Watertight
(DP)
enclosed (TE)
(WT)
01
1
2508
2508.1
2508.2
100 amperes
Example: The full PIN for a watertight panel is:
M23928/3-01 WT
Military specification
Enclosure type
(see table I)
Specification
sheet number
Dash number
(see table I)
REQUIREMENTS:
Class 1: Dripproof (see note 1).
Class 2: Totally enclosed (see note 2).
Class 3: Watertight (see note 3).
Dimensions and configuration: See figures.
Composition: See table I.
Current rating: See table I.
Voltage rating: 500 volts alternating current and 250 volts direct current.
Short circuit capacity: 100,000 amperes.
Bus bar size (minimum): None.
Circuit breakers: AQB-A101, AQB-A102, AQB-A103 and NQB-A101 (see MIL-DTL-17361).
4
For Parts Inquires submit RFQ to Parts Hangar, Inc.
© Copyright 2015 Integrated Publishing, Inc.
A Service Disabled Veteran Owned Small Business