
INCH-POUND
MIL-C-55629/17C
3 April 2010
SUPERSEDING
MIL-C-55629/17B
6 May 1986
MILITARY SPECIFICATION SHEET
CIRCUIT BREAKERS, MAGNETIC, UNSEALED,
TRIP-FREE, THREE POLE, FRONT MOUNTED AUXILIARY CONTACTS
(1 TO 100 AMPERES)
INACTIVE FOR NEW DESIGN AFTER
30 SEPTEMBER 1997 AND IS NO LONGER USED,
EXCEPT FOR REPLACEMENT PURPOSES.
This specification is approved for use by all Departments
and Agencies of the Department of Defense.
The requirements for acquiring the product described herein
shall consist of this specification sheet and MIL-PRF-55629.
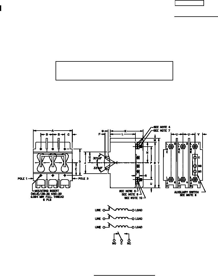
FIGURE 1. Dimensions and configurations.
AMSC N/A
FSC 5925