
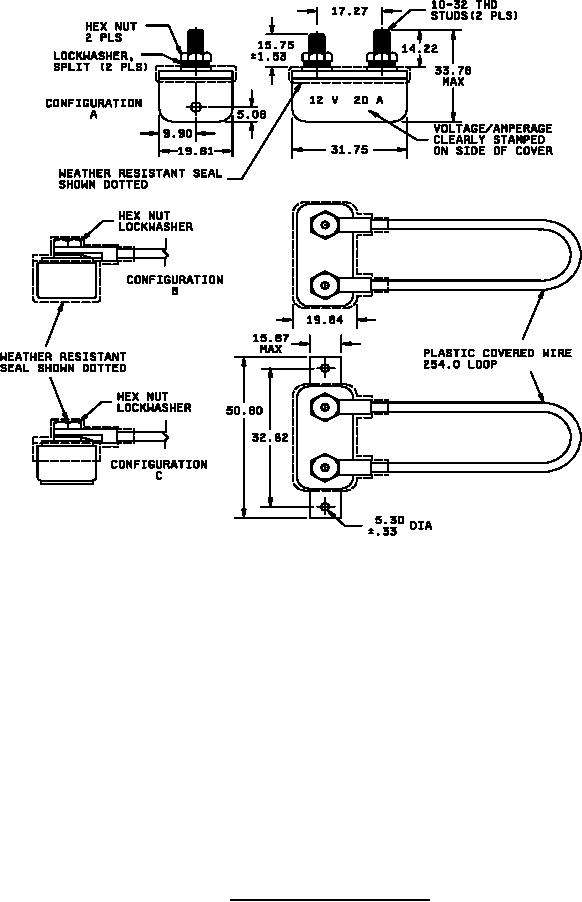
A-A-55491B
mm
Inches
mm
Inches
0.33
.013
17.27
.680
1.53
.060
19.81
.780
5.08
.200
19.84
.781
5.30
.208
31.75
1.250
9.90
.389
32.62
1.284
14.22
.559
33.78
1.330
15.75
.620
50.80
2.000
15.87
.625
254.0
10.00
NOTES:
1. Dimensions are in millimeters.
2. Unless otherwise specified, tolerance is ±0.13 millimeter (.005 inch).
3. The US government preferred system of measurement is the metric SI system. However, this item
was originally designed using inch-pound units of measurement. In the event of conflict between
the metric and inch-pound units, the inch-pound units shall take precedence.
FIGURE 1. Configuration and dimensions.
2
For Parts Inquires submit RFQ to Parts Hangar, Inc.
© Copyright 2015 Integrated Publishing, Inc.
A Service Disabled Veteran Owned Small Business